Contact Vinidex Customer Service for availability of products on this page.

 

 

 

 

 

 

This fitting is used for solvent cement jointing into the socket of a fitting such as a CAT 7 coupling or a CAT 19 tee to give a reduction in bore. It is most often used as an alternative to a reducing coupling (CAT 8) in situations where space is a problem.

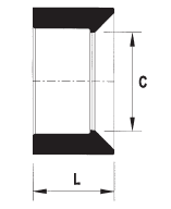
Vinidex Code Size DN (SP x TH) C L
34420 20x15 16.8 21
34430 25x15 16.1 24.7
34440 25x20 21.9 24.5
34450 32x25 26.8 33
34460 40x25 31 31
34470 40x32 34.7 31.6
34480 50x25 27 36.9
34490 50x40 41.3 36.8
34500 80x50 56.2 51.5
34510 100x50 57.4 61.5
34520 100x80 85 61.5
34530 150x100 107 89
34580* 200x150 132.2 121.5
*PN9 Fitting